±¦ÔËÀ³¹Ù·½ÍøÕ¾

EnglishÈÕ±¾ÕZ

Êý¾Ý°²È«×¨Ìâ > Êý¾Ý°²È«Ë¾·¨½â¶Á

¡¶Êý¾Ý°²È«·¨¡·Êµ¼ÊÖ®Êý¾Ý°²È«¿ÉÐÅÁ÷ͨ¼à¹Üϵͳ

×÷Õߣº±¦ÔËÀ³¹Ù·½ÍøÕ¾ 2021-10-25

½üÄêÀ´£¬µ³ÖÐÑë¸ß¶ÈÆ÷³ÁÊý¾Ý°²È«£¬¾Í¼ÓÇ¿Êý¾Ý°²È«¹¤×÷ºÍÍÆ½øÊý×Ö»¯·¢Õ¹×÷³öһϵÁв¿Êð¡£ÒÀÕÕµ³ÖÐÑë¾ö²ß²¿ÊðºÍ¹á³¹×ÜÌå¹ú¶È°²È«¹ÛµÄÒªÇó£¬È«¹úÈË´ó³£Î¯»á»ý¼«Íƶ¯Êý¾Ý°²È«Á¢·¨¹¤×÷¡£¾­¹ýÈý´ÎÉóÒ飬2021Äê6ÔÂ10ÈÕ£¬Ê®Èý½ìÈ«¹úÈË´ó³£Î¯»áµÚ¶þÊ®¾Å´Î»áÒéͨ¹ýÁË¡¶ÖлªÈËÃñ¹²ºÍ¹úÊý¾Ý°²È«·¨¡·£¨ÒÔϼò³Æ¡¶Êý¾Ý°²È«·¨¡·£©¡£¡¶Êý¾Ý°²È«·¨¡·ÉèÖÃÊý¾Ý°²È«·¢Õ¹¹æ·¶£¬³ÉÁ¢Êý¾Ý°²È«Ôì¶È¡¢±£»¤Ê¹Ãü¡¢Êý¾Ý°²È«ÔðÈΣ¬Íƶ¯ÕþÎñÊý¾Ý°²È«Ê¢¿ªÀûÓ㬼ӿìÐγÉÒÔ´´ÐÂÎªÖØÒªÒýÁìºÍÖ§³ÖµÄÊý×Ö¾­¼Ã£¬¸üºÃµØ·þÎñÓÚÎÒ¹ú¾­¼ÃÉç»á·¢Õ¹¡£

¡¶Êý¾Ý°²È«·¨¡·Àú¾­Èý´ÎÉóÒ飬ÿһ´Î¾«½¨¶¼ÔÚ²»ÐÝÌá¸ß¶ÔÊý¾Ý°²È«µÄÒªÇó£º

¡¶Êý¾Ý°²È«·¨¡·Ò»Éó£ºÈ·Á¢Êý¾Ý°²È«±£»¤ÖÎÀí¸ù»ùÔì¶È£»

¡¶Êý¾Ý°²È«·¨¡·¶þÉó£ºÃÀÂúÊý¾Ý·Ö¼¶·ÖÀàºÍ³ÁÒªÊý¾Ý±£»¤Ôì¶È£»

¡¶Êý¾Ý°²È«·¨¡·ÈýÉó£ºÃÀÂú±£ÏÕÕþÎñÊý¾Ý°²È«¼ÓÇ¿Êý¾Ý°²È«ÔðÈΡ£

¡¶Êý¾Ý°²È«·¨¡·Á½´ó³ÁµãÖ÷Ìâ½â¶Á

µÚÒ»£¬Ã÷È·Ç¿µ÷Êý¾Ý¿ª·¢ÀûÓÃÈ«Á÷³Ì°²È«ÖÎÀíµÄ³ÁÒªÐÔ¡£

¡¶Êý¾Ý°²È«·¨¡·¶àÏîÌõ¿îÖж¼Ã÷È·Ç¿µ÷ÁËÊý¾Ý¿ª·¢ÀûÓÃÈ«Á÷³ÌÓ¦×ñÑ­µÄ°²È«ÖÎÀí¹æ·¶¡£

µÚÒ»Ìõ

ΪÁ˹淶Êý¾Ý´¦Öû£¬±£ÏÕÊý¾Ý°²È«£¬ÍƽøÊý¾Ý¿ª·¢ÀûÓ㬱£»¤Ó×ÎÒ¡¢×éÖ¯µÄºÏ·¨È¨Àû£¬ÊØ»¤¹ú¶ÈÖ÷Ȩ¡¢°²È«ºÍ·¢Õ¹ÀûÒæ£¬Ôì¶©±¾·¨¡£

µÚÈýÌõ

Êý¾Ý£¬ÊÇÖ¸ÈκÎÒÔµç×Ó»òÕ߯äËû·½Ê½¶ÔÐÅÏ¢µÄ¼Í¼¡£Êý¾Ý´¦Öã¬Ô̺¬Êý¾ÝµÄÍøÂç¡¢´æ´¢¡¢Ê¹Óᢼӹ¤¡¢´«Êä¡¢Ìṩ¡¢¹«¿ªµÈ¡£Êý¾Ý°²È«£¬ÊÇָͨ¹ý²ÉÈ¡±ØÒª´ëÊ©£¬È·±£Êý¾Ý´¦ÓÚÓÐЧ±£»¤ºÍºÏ·¨ÀûÓõÄ״̬£¬ÒÔ¼°¾ß±¸±£ÏÕ³ÖÐø°²È«×´Ì¬µÄÄÜÁ¦¡£

µÚÊ®ÈýÌõ

¹ú¶ÈÁ½È«·¢Õ¹ºÍ°²È«£¬¶ÔÖÅÒÔÊý¾Ý¿ª·¢ÀûÓúͲúÒµ·¢Õ¹ÍƽøÊý¾Ý°²È«£¬ÒÔÊý¾Ý°²È«±£ÏÕÊý¾Ý¿ª·¢ÀûÓúͲúÒµ·¢Õ¹¡£

µÚÊ®ÎåÌõ

¹ú¶ÈÖ§³Ö¿ª·¢ÀûÓÃÊý¾ÝÌáÉý¹«¹²·þÎñµÄÖÇÄÜ»¯Ë®Æ½¡£ÌṩÖÇÄÜ»¯¹«¹²·þÎñ£¬¸Ãµ±³ä·Ö˼¿¼ÀÏÄêÈË¡¢²Ð¼²È˵ÄÐèÒª£¬Ô¤·À¶ÔÀÏÄêÈË¡¢²Ð¼²È˵ÄÈÕ³£ÉúÑÄÔì³É×è°­¡£

µÚÊ®ÁùÌõ

¹ú¶ÈÖ§³ÖÊý¾Ý¿ª·¢ÀûÓúÍÊý¾Ý°²È«¼¼Êõ×êÑУ¬¼¤ÀøÊý¾Ý¿ª·¢ÀûÓúÍÊý¾Ý°²È«µÈÁìÓòµÄ¼¼ÊõÍÆ¹ãºÍóÒ×´´Ð£¬Ôì¾Í¡¢·¢Õ¹Êý¾Ý¿ª·¢ÀûÓúÍÊý¾Ý°²È«²úÆ·¡¢²úҵϵͳ¡£

µÚ¶þÊ®ÆßÌõ

·¢Õ¹Êý¾Ý´¦Öû¸Ãµ±×ñѭ˾·¨¡¢ÂÉÀýµÄ»®¶¨£¬³ÉÁ¢½¡È«È«Á÷³ÌÊý¾Ý°²È«ÖÎÀíÔì¶È£¬×éÖ¯·¢Õ¹Êý¾Ý°²È«½ÌÓýÅàѵ£¬²ÉÈ¡ÏàÓ¦µÄ¼¼Êõ´ëÊ©ºÍÆäËû±ØÒª´ëÊ©£¬±£ÏÕÊý¾Ý°²È«¡£ÀûÓû¥ÁªÍøµÈÐÅÏ¢ÍøÂç·¢Õ¹Êý¾Ý´¦Öû£¬¸Ãµ±ÔÚÍøÂ簲ȫµÈ¼¶±£»¤Ôì¶ÈµÄ»ù´¡ÉÏ£¬ÍƹãÉÏÊöÊý¾Ý°²È«±£»¤Ê¹Ãü¡£

µÚËÄÊ®¶þÌõ

¹ú¶ÈÔì¶©ÕþÎñÊý¾ÝÊ¢¿ªÄ¿Â¼£¬¹¹½¨Í³Ò»¹æ·¶¡¢»¥Áª»¥Í¨¡¢°²È«¿É¿ØµÄÕþÎñÊý¾ÝÊ¢¿ªÆ½Ì¨£¬Íƶ¯ÕþÎñÊý¾ÝÊ¢¿ªÀûÓá£

µÚ¶þ£¬Ã÷È·Ç¿µ÷ÁËÎ¥·´Êý¾Ý°²È«Ó¦³Ðµ£µÄ˾·¨ÔðÈΡ£

Ëæ×ÅÐÅÏ¢¼¼ÊõºÍÈËÀà³ö²úÉúÑĽ»»ãÈںϣ¬ÝÓÈÆÖǻ۳ÇÊÐÒÔ¼°µ±¾Ö¡¢µçÁ¦¡¢½»Í¨¡¢½ðÈÚ¡¢Ò½ÁÆ¡¢Ôì×÷µÈÐÐÒµ¸÷ÀàÊý¾ÝѸÃÍÔö³¤¡¢º£Á¿ÜöÝÍ£¬¶Ô¾­¼Ã·¢Õ¹¡¢ÈËÃñÉúÑͼ²úÉúÁ˳Á´ó¶øÉî¿ÌµÄÓ°Ïì¡£Êý¾Ý°²È«ÒѳÉΪʹعú¶È°²È«Óë¾­¼ÃÉç»á·¢Õ¹µÄ³ÁÒª³É·Ö£¬´«Í³ÍøÂ簲ȫ»ùÓÚ¡°ÒÔÍøÂçΪÖÐÐÄ¡±ÊÇÕ¾ÔÚ¡°±íΧ·À»¤¡±ÎÞ·¨Âú¹»Êý¾ÝÉí·Ö¡°ÒÔÊý¾ÝΪÖÐÐÄ¡±µÄÀûÓó¡¾°£¬½â¾öÊý¾Ý°²È«Ê¢¿ªÀûÓᢳÉÁ¢Êý¾ÝÈ«Á÷³Ì°²È«¼à¹Ü¼¿Á©»ðÉÕüë¡£


°²Õû¸öϵ.png


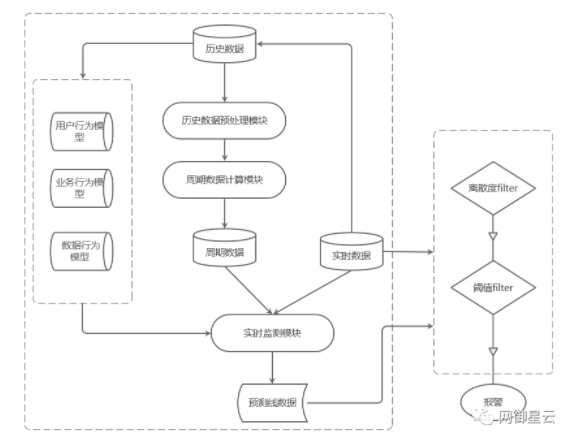
Êý¾Ý°²ÂúÊDZ¦ÔËÀ³¹Ù·½ÍøÕ¾µÄ³ÁÒªÕ½Êõ·½ÏòÖ®Ò»£¬¹«Ë¾½áºÏÊý¾Ý°²È«ÔËÓª£¨DataSecOps£©ÀíÏ룬»ùÓÚÊý¾Ý»î¶¯³¡¾°Éè¼ÆµÄ¡°ÒÔÊý¾ÝΪÖÐÐÄ¡±¿ÉÐÅÁ÷ͨ°²Õû¸öϵ£¬½«¼à¹ÜÈÚÈëµ½Êý¾Ý»î¶¯µÄÁ÷³ÌÖУ¬À´Ìí²¹´«Í³ÍøÂ簲ȫ¡°±íΧ·À»¤¡±µÄ²»¼°¡£

ÔÚÊ¢¿ªÊý¾ÝÏ£¬Êý¾ÝÌṩÕß¡¢¼Ó¹¤Õß¡¢ËùÓÐÕߺÍÊØ»¤ÕߵȽÇÉ«µÄ½»²æ³ÁµþʹµÃ²¿ÃÅ»ú¹¹ÓëÈËÔ±µÄÊý¾Ý»î¶¯ºÍȨÔð¹éÊô±äµÃ¼«Îª¸´ÔÓ£¬ÄÑÒÔÇ峺½ç¶¨¡£¿ÉÐÅÁ÷ͨ°²Õû¸öϵ¿ÉÄÜÕë¶ÔÐÔ½â¾öÊý¾Ý°²È«Ê¢¿ªÀûÓü°Êý¾Ý»î¶¯¹ý³ÌÖÐÔðÈιéÊôµÈÁ½Àà³ÁÒªµäÐÍÎÊÌâ¡£


Á÷³Ìͼ.png


¡°ÒÔÊý¾ÝΪÖÐÐÄ¡±µÄ¿ÉÐÅÁ÷ͨ°²Õû¸öÏµÖØÒªÊÇͨ¹ýÁ¿»¯Ä£Ð͵ÄרÀû¼¼Êõ£¬·¢ÏÖ²¢ÊµÊ±³Á¹¹ÍøÂçÖÐÁ÷¶¯µÄ¡¢²»Ë½¼ûµÄ¡°É豸¡¢Óû§¡¢ÀûÓá¢Êý¾Ý¡±Ëĸöά¶ÈµÄ¹Ø¼üÊý¾Ý£¬ÝÓÈÆÒµÎñÀûÓó¡¾°»æÔìÒÔÊý¾ÝÐÐΪΪÖ÷ÌâµÄÊý¾ÝÒò×ÓȫϢͼ¡£½áºÏÈËΪÖÇÄܽø½¨½«¶àÔ´ÀǽåµÄ¹ØÏµ½øÐÐÖÎÀí·ÖÎö¡¢Êý×Ö½¨Ä££¬ÆÀ¹ÀÊý¾ÝÐÐΪÊÇ·ñ´æÔÚÎ¥¹æ£¬Ã÷È·Êý¾ÝÎ¥¹æÔðÈη½£¬²¢¶ÔÎ¥¹æÐÐΪ½øÐÐÊÂǰԤ¾¯¡¢ÊÂÖб¨¾¯¡¢¹ýºóËÝÔ´£¬´Ó¶øÎªÕþÎñµÄÊý¾Ý°²È«Ìṩȫά¶ÈÎÞ¸ÐÖª¡¢ÎÞËÀ½ÇÈ«Ììºò·ÖÎö¡¢¼à²âºÍÔ¤¾¯Æ½Ì¨£¬ÕæÕýʵÏÖ¡°ÒÔÊý¾ÝΪÖÐÐÄ¡±µÄ¼à¹Ü¼à²â£¬×öµ½¡°¿´µÄס¡¢¹ÜµÄס¡±µÄÊý¾Ý¿ÉÐÅÁ÷ͨµÄ°²È«¼à¹Ü¼¿Á©¡£

¡¶Êý¾Ý°²È«·¨¡·¼ÈÊÇÊý¾Ý°²È«ÁìÓòµÄ»ù´¡ÐÔ˾·¨£¬Ò²Êǹú¶È°²È«ÁìÓòµÄ³ÁÒª×é³É²¿ÃÅ¡£¸Ã·¨¶ÔÖŰ²È«Óë·¢Õ¹²¢³Á£¬Ôڹ淶Êý¾Ý»î¶¯µÄͬʱ£¬Ò²¶ÔÖ§³ÖÍÆ½øÊý¾Ý°²È«Óë·¢Õ¹µÄ´ëÊ©¡¢Íƶ¯ÕþÎñÊý¾ÝÊ¢¿ªÀûÓõÈ×÷³öÏàÓ¦»®¶¨¡£ÍøÓùÐÇÔÆ»¹½«ÔÚÕþ²ßµÄÖ¸Òýϲ»ÐÝ´´ÐÂÊý¾Ý°²È«²úÆ·¼°½â¾ö¹æ»®£¬ÖúÁ¦Êý¾Ý¾­¼ÃÓ밲ȫ¹²Éú´´Ð£¬ÎªÊý×ÖÖйú½¨É躻ʵ°²È«»ù´¡¡£


ÉÏһƪ ÏÂһƪ

7*24Ó×ʱ·þÎñÈÈÏß

400-624-3900


¡¾ÍøÕ¾µØÍ¼¡¿